Как сотрудники ГИБДД проверят наличие неисправности?
Проверка легкового автомобиля, трактора или иного транспортного средства, не предназначенного для перевозки пассажиров на основе коммерческой деятельности, может быть проведена в следующих местах:
- На стационарных постах
- На контрольных постах
- На контрольно-пропускных пунктах
В иных случаях сотрудники ГИБДД не имеют право проводить осмотр транспортных средств. Что касается автобусов, троллейбусов, маршрутных такси и рейсового транспорта, осмотр может быть произведен:
- На территории автовокзала
- На конечной станции
- На пассажирской остановке
Во время движения пассажирского транспорта сотрудники ГИБДД не могут остановить ТС для проверки на предмет неисправности. Исключением является случай, когда транспорт не имеет регистрационных знаков.
Устранение избыточного рулевого люфта автомобиля
Чтобы отрегулировать рулевой механизм, нужен самый простой набор инструментов, с помощью которых возможно настроить крепления. Также необходимо рабочее место, оборудованное подъемником или эстакадой. Подойдет гараж со смотровой ямой.
Если после замера люфтометром или ручной диагностики результаты оказались недопустимыми, необходимо выполнить следующую последовательность операций. При этом потребуется помощь товарища.
Выявить причину стука и проверить исправность элементов подвески.
При возможности затянуть рулевую планку.
Вращать руль в обе стороны в границах холостого хода, наблюдая в это время за работой карданного вала вблизи рейки и наконечников рулевых тяг. Проверить, плотно ли сопряжены штанги – входят ли они точно друг в друга.
При отсутствии повреждения рулевой планки убрать свободный ход проворачиванием подстроечного винта.
В карданном вале причиной возникновения люфта чаще всего оказывается недостаток смазки
Данный дефект устраним только полной заменой узла.
Свободный ход в сопряжении штанг можно устранить путем точечной сварки деталей в нужном положении.
Шаровые наконечники при их неудовлетворительном состоянии подлежат ремонту или замене.
Повышенное внимание направить на диагностику наконечников и тщательный осмотр пыльников.
Провести повторную проверку люфта рулевого колеса легкового автомобиля.
Случается, когда указанная выше работа не дает положительного результата. Приходится выполнять более серьезный ремонт – демонтируют и разбирают рулевой механизм, после чего дефектуют и меняют вышедшие из строя детали.
Исправность рулевой системы машины очень важна, так как это напрямую влияет на безопасность передвижения находящихся в ней людей. Поэтому многие автовладельцы совершенно правильно доверяют работу по ремонту и настройке этого механизма рукам опытных мастеров.
Суммарный люфт в рулевом управлении
Суммарный люфт в рулевом управлении, согласно Правил дорожного движения, не должен превышать 10 градусов. В действительности, даже небольшой люфт создает водителю массу неудобств, таких как: стуки, при движении по плохой дороге, рысканье машины по дороге.
Рано или поздно небольшой люфт станет большим и ездить станет совершенно невозможно, поэтому корректировать его значение необходимо как можно скорее.
Свободный ход не считается люфтом. Он может быть как в одном, так и в нескольких элементах рулевого устройства. Есть способ определить, в каком именно из них существует люфт: один человек должен покачивать колесо из одной стороны в другую в пределах люфта, а другой должен наблюдать за шаровыми наконечниками рулевых тяг и за карданчиком возле рулевой рейки или червяка, если передача червячная.
Рекомендуем: В чем отличие минерального масла от синтетического?
Также обращается внимание на соединение двух штанг, которые плотно заходят одна в одну. Данное соединение делается с той целью, чтобы предотвратить передачу усилия на рулевое колесо в продольном направлении в момент аварии, когда сминается передняя часть автомобиля
Заранее сообщают о себе характерным стуком разбитые шаровые. Как правило, происходит это до появления заметного люфта. Замените и отремонтируйте их.
Что автолюбители говорят о рулевом люфте автомобиля
1. Целесообразность установки контрактных запчастей
«Контрактная рулевая рейка непредсказуема. Ведь если она хранилась долго, то высока вероятность быстрой поломки. Я сторонник ремонта оригинальной. Например, год назад обращался к хорошему мастеру на СТО. Он заменил мне втулку и все сальники. До сих пор езжу без проблем».
2. Проблемы ремонта в СТО
«Какое-то время ездил с рулевой рейкой, которая текла и дребезжала. Периодически подливал жидкость. Решился на ремонт, установил контрактную рейку. Но неудачно – стал хрустеть рулевой кардан. Так и езжу до сих пор. Обращался в сервис с претензией. Ответ был такой: карданчик хрустел и раньше, но дребезг рейки заглушал этот звук. Ругаться с ними не стал, как и требовать устранения дефекта, ведь теперь не доверяю им. Умудрились подпортить свою репутацию еще и тем, что забыли прикрутить стойки. Авторитет профессиональных СТО теперь сильно хромает у меня».
3. Особенности диагностики свободного хода
«Рулевой люфт автомобиля вы почувствуете без визита на сервис или диагностики в гараже. Ведь это угол, на который вращается руль без влияния на направление колес. Из ямы это можно достаточно просто определить – просто покачать тягу рукой. Если ничего подозрительного не обнаруживается – значит, всё хорошо. Но без обследования при помощи ямы сложно будет определить источник люфта – тяги, рейка или редуктор».
4. Трудности при поиске причин
«Вот как проявляется неисправность:
- при движении по неровностям – стук;
- он отдаёт в руль;
- при маневрировании, когда меняется поворот слева направо или справа налево – происходит щелчок;
- как бы ни был повернут руль, автомобиль меняет траекторию самопроизвольно;
- когда машина стоит, небольшой поворот рулем передается только на одно колесо, другое неподвижно. По сути, это и есть люфт рулевого колеса легкового автомобиля.
К сожалению, четко понять нет возможности. Все потому, что свободный ход в рулевом наконечнике и тяге схожи по проявлениям. Также легко спутать люфт тяги с неисправным сайлент-блоком или рейкой. Похоже стучат стойки и втулки стабилизатора поперечной устойчивости, в некоторых случаях непосредственно амортизатор или опора стойки».
5. Каким образом стопроцентно определить люфт
«Тяги тоже могут давать люфт, самое слабое место – пластиковая втулка в рейке. Недавно диагностировал рулевую своего авто. Мастер говорил, что люфт справа, а я не верил, так как при дергании ничего не проявлялось. Но стоило снять тягу и зажать в тисках, а затем подергать – свободный ход стал хорошо заметен. Втулка тоже очень разбита, но временно вернул ее на место, зажав хомутом. Потому что нужно ждать доставку новой».
6. Подготовка к ремонту
«Первым делом нужно зажать все крепежи. Когда приобрел свою машину, по дороге из салона до сервиса вела себя непредсказуемо на дороге. После зажатия стала управляться уверенно и четко. Какова бы ни была скорость, можно отпустить руль вовсе, и машина держит курс. Никаких виляний, ничего. Если, конечно, на дороге нет колеи. В любом случае неисправность нужно исследовать по месту».
Как заменить рулевой наконечник на chevrolet lacetti
Наконечник рулевой тяги автомобиля Chevrolet Lacetti — замена Для осуществления работы вам понадобится съемник шаровых шарниров. Очередность осуществления 1. Подготавливаем транспортное средство к выполнению работы (см. с. 34, «подготовка автомобиля к техническому обслуживанию и ремонту»). 2. Демонтируем колесо (см. с. 141, «колесо — замена»). 3. Ключом на 22 мм ослабляем зажим контргайки наконечника рулевой тяги, фиксируя наконечник от прокручивания ключом на 19 мм. 4. Ключом на 19 мм отвинчиваем гайку фиксации пальца шарового шарнира наконечника рулевой тяги. Гайка фиксации пальца шарового шарнира самоконтрящаяся и повторному использованию не подлежит, поэтому при монтировании ее нужно сменить. 5. Монтируем съемник шаровых шарниров и выпрессовываем палец шарнира из рычага поворотного кулака. Чтобы сберечь корректировку угла схождения колес при реализации следующей процедуры подсчитываем число сделанных оборотов. При монтаже наконечника наворачиваем его на столько же оборотов. 6. Проворачивая наконечник, сворачиваем его с рулевой тяги Монтаж Монтируем части в обратной очерёдности. Контргайку наконечника рулевой тяги автомобиля Chevrolet Lacetti зажимаем моментом 64 Н м Защитный пыльник рулевой тяги автомобиля Шевроле Лачетти — замена Подменять пыльник рулевой тяги необходимо, если он поврежден Так же неизбежность демонтажа пыльника появляетcя при замене рулевой тяги. Очередность осуществления 1. Подготавливаем транспортное средство к выполнению работы (см. с. 34, «подготовка автомобиля к техническому обслуживанию и ремонту»). 2. Маркируем на рулевой тяге расположение контргайки и наконечника, чтобы не нарушить углы установки колес. 3. Ослабляем зажим контргайки наконечника рулевой тяги автомобиля Chevrolet Lacetti (см. с. 169, «наконечник рулевой тяги — замена). 4. Фиксируя наконечник от прокручивания ключом на 19 мм, ключом на 13 мм выворачиваем из наконечника рулевую тягу. 5. Скручиваем с рулевой тяги контргайку наконечника. Дальнейшие процедуры для наглядности представлены на демонтированном рулевом механизме. 6. Сжимаем пассатижами лапки хомута и демонтируем его с рулевой тяги. 7. Перекусываем второй хомут фиксации защитного пыльника бокорезами и демонтируем защитный пыльник с рулевой тяги. 8. Монтируем новый защитный пыльник и закрепляем его новыми хомутами. 9. Монтируем части в обратной очерёдности. После замещения пыльника рулевой тяги контролируем и при надобности регулируем углы установки колес на станции технического обслуживания.
Рулевая тяга автомобиля Chevrolet Lacetti — замена При присутствии особенного инструмента (цангового зажима) рулевые тяги можно поменять без демонтажа подрамника и рулевого устройства с автомобиля. Ниже изложена замена рулевых тяг без использования особенного инструмента. Демонтаж Подготавливаем транспортное средство к выполнению работы (см. с. 34, «подготовка автомобиля к техническому обслуживанию и ремонту»). Демонтируем подрамник автомобиля Шевроле Лачетти в сборе с рулевым устройством (см. с. 168, «рулевой механизм — демонтаж и установка»). Демонтируем защитный пыльник (см. с. 170, «защитный пыльник рулевой тяги — замена»). Причем для замещения левой рулевой тяги демонтируем только левый чехол, а для замещения правой рулевой тяги — оба. 4. Сдвигаем пластмассовый чехол, защищающий соединение меж рулевой тягой и рейкой рулевого устройства автомобиля Chevrolet Lacetti. 5. Обернув рейку тканью и фиксируя ее от прокручивания ключом на 22 мм, ключом на 32 мм отвинчиваем гайку фиксации рулевой тяги. Монтаж Монтируем все демонтированные части в обратной очерёдности. Болты и гайки фиксации зажимаем предписанными моментами (см. с. 163, «справочные данные»).
Признаки увеличенного люфта
Если во время езды на машине вы стали замечать, что она стала терять чувствительность к вашим усилиям на руль, то пора ехать в автосервис, дабы квалифицированные механики смогли определить, что именно привело к появлению такого эффекта. В среднем свободный ход руля не должен превышать тридцати миллиметров. Если имеются какие-то отклонения, то следует немедленно заняться ремонтом своей машины.
Существуют специальные приборы, посредством которых можно замерить отклонения от заявленной производителем нормы
Примечательно, что если своевременно обратить внимание на неисправность и посетить автосервис, то не придется обременять себя дорогостоящим ремонтом системы управления
Основные регулировочные работы по рулевому управлению легковых автомобилей
Рулевое управление современных легковых автомобилей практически не требует обслуживания, однако следует постоянно проверять состояние защитных чехлов шаровых шарниров, люфты в деталях рулевого привода.
В автомобилях старых конструкций могут выполняться регулировки зазоров: в подшипниках рулевого механизма и в зацеплении ролика с червяком; в рулевых механизмах реечного типа.
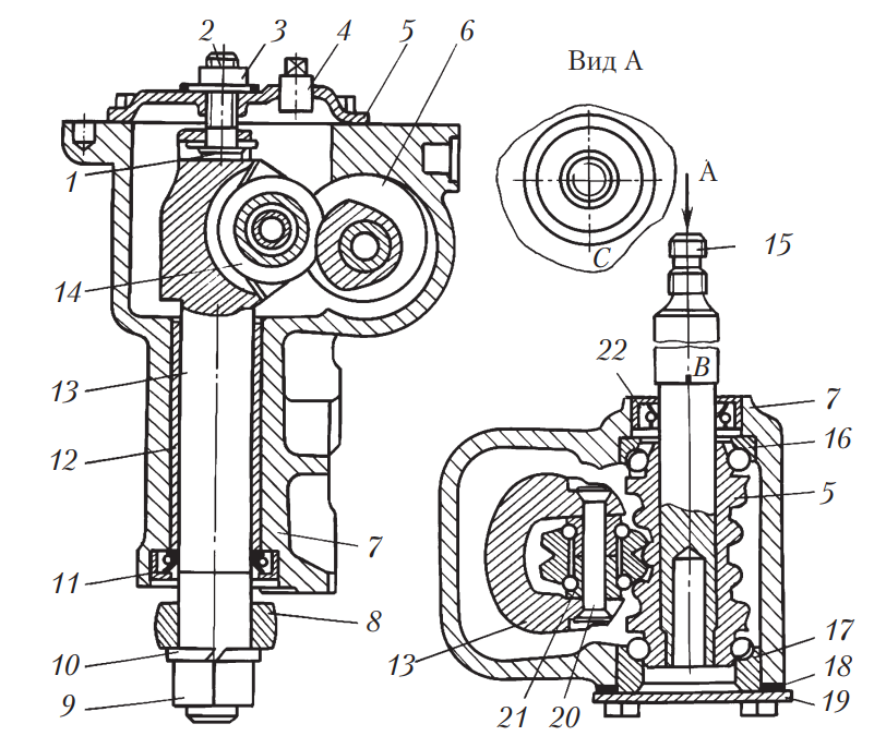
Для регулировки зазоров в подшипниках червяка рулевого механизма (рис. 12): поворачивают рулевое колесо на один — полтора оборота влево, отвертывают болты крепления нижней крышки 19 и сливают масло из картера рулевого механизма. Сняв крышку, удаляют необходимое число регулировочных прокладок 18. После этого, закрепив нижнюю крышку, снова проверяют, нет ли осевого перемещения червяка в подшипниках. При отсутствии перемещения заливают в картер масло и проверяют усилие поворота рулевого колеса (установив передние колеса на гладкой плите), которое не должно превышать 200 Н.

Рис. 12. Схема рулевого механизма типа червяк-ролик: 1 — пластина регулировочного винта вала сошки; 2 — регулировочный винт; 3 — контргайка; 4 — пробка; 5 — крышка картера рулевого механизма; 6 — червяк; 7 — картер рулевого механизма; 8 — сошка; 9 — гайка крепления сошки; 10 — пружинная шайба; 11 — сальник вала сошки; 12 — втулка; 13 — вал сошки; 14 — ролик вала сошки; 15 — вал червяка; 16, 17 — подшипники червяка; 18 — регулировочные прокладки; 19 — нижняя крышка картера; 20 — ось ролика; 21 — подшипник ролика; 22 — сальник вала червяка; В, С — метки
После проверки и устранения люфтов в деталях рулевого привода (в случае обнаружения повышенного люфта в рулевом механизме) проводят регулировку зазоров зацепления ролика с червяком. Для этого ослабляют контргайку 3 регулировочного винта 2 и, приподняв пружинную шайбу 10, завертывают регулировочный винт до установления зазора (не рекомендуется слишком затягивать регулировочный винт). Затем, придерживая регулировочный винт отверткой, затягивают контргайку. Убедившись в том, что рулевой механизм имеет допустимый люфт, проверяют усилие поворота рулевого колеса. Если оно выше 200 Н, ослабляют регулировочный винт.
Регулировку зазоров в рулевых механизмах реечного типа производят при повышенном значении люфта рулевого управления (рис. 13). В процессе эксплуатации в конструкциях рулевых механизмов реечного типа повышенный люфт может возникать из-за увеличенного зазора между рейкой и шестерней, поэтому предприятия-изготовители рекомендуют производить затяжку регулировочного винта или гайки для устранения люфта. Устранить люфт можно и регулировочным винтом, заворачивая его на 20°.

Рис. 13. Рулевое управление реечного типа автомобиля Audi: 1 — регулировочный винт; 2 — нижний вал колонки рулевого управления; 3 — хомут; 4 — крышка
В настоящее время, учитывая повышенные требования к рулевому управлению, производится не восстановление отдельных его деталей, а замена шарниров деталей рулевого управления.
Для замены шарниров рулевых тяг используют специальные съемники (рис. 14). Гайки крепления шаровых пальцев боковой и средних тяг к сошке отвертывают и выпрессовывают шаровые пальцы из отверстий сошки и рычага.

Рис. 14. Внешний вид универсального съемника для выпрессовки шаровых пальцев
Для установки нового шарнира следует очистить внутреннюю поверхность гнезда тяги под корпус шарнира и запрессовать новый шарнир в отверстие тяги до упора. Заложить в новый колпак 6…10 г смазки «Литол-24». Напрессовать колпак на шарнир с помощью универсального съемника и зафиксировать колпак на пальце стопорным кольцом.
Снимая картер рулевого механизма, отмечают количество и размещение шайб между лонжероном и картером (если они имеются), чтобы поставить их на прежнее место при установке картера. Это необходимо для сохранения соосности вала рулевого управления и вала червяка.
ГАИ хочет незаконно вернуть техосмотр
Причем МВД уже заключило соглашения на закупку мобильных станций для диагностики состояния автомобилей. Водители сразу же заговорили о том, что лучше бы никакого закона про отмену техосмотра не было — мол, раньше наличие талона ТО служило доказательством исправности автомобиля, а теперь машины будут останавливать для диагностики на каждом углу и штрафовать за любую мелочь. «Сегодня» выяснила, действительно ли будут проверять авто на дорогах или ГАИ опять выдает желаемое за действительное.

Попытки проверять техсостояние автомобилей в период между техническими осмотрами производились еще в 2008 году.
Но помимо перечисленных мер, работники ГИБДД через суд могут лишить водителя не только прав, но и транспортного средства, которое будет временно содержаться на штрафплощадке. Судя по многочисленным темам на автомобильных форумах, не многие российские водители осведомлены, за какие правонарушения их могут временно лишить «железных коней». Сегодня мы подробно расскажем обо всех случаях, когда правоохранители могут применить подобную меру наказания.
Легковые автомобили
Руль для легковых автомобилей, как правило, круглый и установлен на рулевую колонку во втулку, присоединенную к внешнему кольцу рулевого колеса одной или несколькими спицами (с одной спицей — довольно редкое исключение). Другие классы автомобилей могут использовать форму бабочки или еще какую-нибудь. В странах с левосторонним движением руль обычно находится на правой стороне автомобиля (праворульная компоновка); в странах с правосторонним движением — наоборот (леворульная компоновка).
Помимо функции управления, на руле обычно располагается кнопка подачи звукового сигнала. В дополнении к этому, многие современные автомобили могут иметь и другие манипуляторы, встроенные в рулевое колесо, такие как круиз-контроль и кнопки аудиосистемы. Это для того, чтобы свести к минимуму расстояние, на которое должен дотянуться водитель.
В 1968 году в нормы Соединённых Штатов («Федеральные стандарты по безопасности автомобилей», Стандарт № 204) была внесена поправка о приемлемом смещении рулевого колеса в заднюю сторону автомобиля в случае аварии. Для реализации этого стандарта потребовались складывающиеся (энергопоглощающие) рулевые колонки.
Усилитель руля позволяет водителю легче управлять автомобилем. В основе современного усилителя почти всегда лежит гидравлическая система, хотя электрические системы неуклонно заменяют эту технологию. Изобретены и механические системы усиления (например Студебеккер, 1952 год), однако их большие сложность и вес перекрывают все преимущества.
Ни один из способов управления легковым автомобилем, получаемых в ходе различных испытаний, не был так успешно введён в действие, как рулевое колесо.
Замена рулевых тяг и наконечников на Chevrolet Lacetti
Установка новых рулевых наконечников проводится каждый третий плановый технический осмотр. В исключительных случаях, авариях, ударах, столкновениях замена проводится внепланово.

Несмотря на простоту конструкции рулевого управления, перед началом работ проведите диагностику с целью изучения общего технического состояния автомобиля, расчета количества запасных частей, деталей. Стоимость новых наконечников приведена в таблице ниже:
| Название | Артикул / ОЕМ | Цена (руб.) |
|---|---|---|
| Наконечник рулевой тяги левый Chevrolet Lacetti | Profit 2302-0464 | 450 |
| —/— правый | Profit 2302-0465 | 450 |
| —/— слева/справа | Mapco 59211 | 500 |
| —/— левый | Nipparts J4820901 | 500 |
| —/— правый | Nipparts N4830911 | 500 |
| —/— | Nipparts J4830900 | 550 |
| —/— | Formpart 3202004 | 500 |
| —/— | Denckermann D130324 | 600 |
| —/— | Denckermann D130325 | 600 |
| —/— | Stellox 5105188ASX | 600 |
| —/— | Stellox 5105189ASX | 600 |
| —/— | NIPPARTS J4820900 | 550 |
| —/— | NIPPARTS N4820911 | 550 |
| —/— | PROFIT 2302-0055 | 500 |
| —/— | QUINTON HAZELL QR1828S | 600 |
| —/— | PROFIT 2302-0464 | 500 |
| —/— | KAMOKA 9989030 | 650 |
| —/— | AT 7485200TR | 600 |
| —/— | AT 7486200TR | 600 |
| —/— | JP GROUP 1244600670 | 650 |
| Тяга левая / правая Шевроле Лачетти | FORMPART 3202004 | 600 |
| Тяга на Шевроле Лачетти | GMB 07120021 | 600 |
| —/— | GMB 07120022 | 600 |
| —/— | Asmetal 17DW2000 | 550 |
| —/— | Asmetal 17DW2001 | 550 |
| —/— | Fenox SP30046 | 550 |
| —/— | Stellox 51-00539-SX | 550 |
| —/— | Aywiparts AW1310031R | 600 |
| —/— | Fenox SP30045 | 600 |
| —/— | TORQUE RD016 | 600 |
| —/— | Aywiparts AW1310030L | 550 |
| —/— правый | Amd AMDTE122R | 550 |
| —/— левый | Amd AMDTE122L | 550 |
| —/— | Zekkert SN2181 | 600 |
| —/— | Zekkert SN2182 | 600 |
| —/— | PROFIT 2302-0277 | 500 |
| —/— | PROFIT 2302-0278 | 500 |
| Чехол рулевого механизма Шевроле Лачетти | 93742552 | 400 |
| Наконечник рулевой тяги | TEKNOROT CH301 | 500 |
| —/— | CTR (СТР) CEKD16L | 600 |
Чтобы проверить состояние рулевых реек, наконечников залезьте под днище автомобиля. Руками расшатайте из стороны в сторону тягу, наконечники. В исправном состоянии люфта не должно быть, в противном случае замена новыми запасными деталями.
При наличии минимального опыта в обслуживании Шевроле Лачетти установку проводите самостоятельно, обращаться в сервисный центр за помощью вовсе не обязательно. Следуя приведенным ниже рекомендациям, установка новых расходных материалов займет не более получаса.
Подготовительный этап: новые наконечники, рулевые тяги, набор автомобильных инструментов, ветошь, графитная смазка.

Последовательность действий при замене
- Шевроле Лачетти устанавливаем на смотровой канал, фиксируем задние колеса противооткатными башмаками, поддомкрачиваем нужное колесо, демонтируем его;
- срываем, откручиваем гайки наконечника рулевой тяги;
- специальным съемником выпрессовываем наконечник. При его отсутствии практикуют постукивание молотком через деревянную проставку;
- отодвинув с места фиксации резиновый пыльник, ключом на 30 срываем тягу с посадочного места. Делать это лучше из-под днища машины;
- извлекаем изношенные детали в сборе, собираем новый механизм. Количество витков накручивания должно совпадать с прежним. Несмотря на проведение развала – схождение, длина рулевой тяги должна максимально совпадать. Чем меньше будет разнобой, тем целее протектор колес;
- перед установкой проверяем целостность резинового пыльника. При наличии признаков износа, деформации, трещин заменяем новым из числа запаса расходных материалов.
Завершающий этап: сборка, проверка работоспособности механизма. Заменяем неисправные элементы рулевого управления на правой стороне автомобиля.
Характерные признаки неисправности рулевого управления
- стук при езде, повороте руля;
- плохая управляемость машины на средних и высоких скоростных режимах;
- биение и вибрации при преодолении дорожных препятствий;
- металлический скрип, скрежет при повороте руля.
Частые причины поломок
- износ вследствие длительного срока эксплуатации;
- установка некачественных, неоригинальных запасных частей;
- нарушение правил и условий эксплуатации технического средства;
- превышение (игнорирование) рекомендуемого интервала замены расходных материалов.
Параллельно с заменой элементов рулевого управления, проверяйте состояние фрикционных накладок, тормозного суппорта, передних амортизаторов, стоек стабилизатора, резиновых уплотнителей. При наличии признаков износа заменяйте новыми из числа запасных.
Качественные и оригинальные детали обеспечат безаварийное вождение последующие 80 000 км. Показатель усредненный, так как на формирование влияет множество факторов, в том числе: агрессивность стиля вождения Шевроле Лачетти, соблюдение интервалов замены, качество дорожного покрытия, наличие смазки.
Как выполнить замену рейки лансер 10
Если ваши героические усилии по спасению старой рейки не помогли и стук или утечка остались, то выход только один – менять ее на новую. Подробное видео и схема того, как это делать находиться в сети. Начать следует из салона. Необходимо, сняв пластиковую заглушку, отсоединить вал, который ведет от рулевого колеса к рейке. После этого необходимо демонтировать передний брызговик и защиту картера, а потом снять оба колеса. Затем аккуратно отсоединяем проводку электроусилителя, стараясь ее не повредить. Откручиваем болты крепления к подушке и приступаем к снятию электромотора.
Отсоединяем наконечники и дальше, снимаем подрамник с передней стороны, так чтоб он начал провисать впереди и держался сзади. Затем нужно открутить рейку с подушек. После того, как демонтированы все болты крепления рейка будет полностью снята. У вас будет возможность более внимательно изучить причину поломки, а также осмотреть все детали этого узла на наличие износа и по мере необходимости все разом заменить. Если на старой рейке сохранился католожный номер запчасти, то это будет служить гарантией того, что новая рейка будет полностью подходить.

После установки новой детали, которая производится в обратном порядке, стоит задуматься над тем, как продлить ей жизнь. Многие опытные мастера, дают один простой, но важный совет
Так, как влага, вода, грязь и пыль с дороги при попадании вовнутрь рейки приводят к стремительному износу механизмов детали, важно следить за состоянием защитного пыльника. Если вы замечаете, что он порван или хомуты прослаблены, важно как можно быстрее исправить это
Так, этот узел вашего автомобиля, прослужит гораздо дольше.
Причины износа шарниров
В процессе эксплуатации рабочая пара наконечника (пластмассовая вставка и шаровой палец) испытывает нагрузки со стороны рулевой рейки, которая тянет или толкает поворотный кулак в зависимости от направления движения автомобиля. Другая разновидность нагрузок воздействует на элемент со стороны колеса, попадающего на неровности дорожного полотна.
В первом случае усилие прилагается перпендикулярно оси шарового пальца и действует на излом, во втором силы стремятся выдернуть деталь из гнезда. Есть и третий вид нагрузки – сила трения, возникающая в узле при повороте колес. Поскольку палец жестко закреплен в проушине кулака гайкой, он проворачивается внутри пластиковой втулки и трется о ее стенки.
Из-за воздействия указанных нагрузок шарнирное соединение изнашивается следующим образом:
- Со временем стенки вкладыша истираются, между ними и шаром образуется зазор, отчего при движении по мелким неровностям слышен негромкий стук.
- Истирание боковых стенок втулки приводит к разбалтыванию пальца, ведь он поджимается пружиной только снизу.
- Когда пружина и пята не в состоянии выбрать люфт, возникший в результате износа пластика, шаровой палец легко ходит во втулке, отчего сильно стучит рулевой наконечник.
Подобные дефекты нужно выявлять своевременно, иначе поврежденный наконечник быстро придет в негодность.

В автомобилях, оборудованных двухрычажной передней подвеской, иногда возникает поломка, не связанная с работой шарнира. Поскольку тяга расположена низко, при неаккуратной езде по плохим дорогам металлический стержень может согнуться от удара о камень или другое препятствие. При этом стук не возникает, но наблюдаются другие признаки, описанные далее.




























